詳細介紹
產品用途
A72W0P/R真空負壓安全閥適用于溫度≤200℃的負壓系統,當容器內負壓超過允許值時,真空負壓安全閥自動開啟,吸入空氣;當容器內負壓達到允許值時,真空負壓安全閥自動關閉,從而保護設備及系統。安裝在正常非負壓系統,當容器和系統的放散閥未打開,產生負壓時,此閥自動開啟。
主要零部件材料
主要性能規范
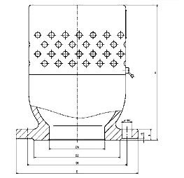
外形尺寸和連接尺寸(mm)
產品尺寸
| ||||||||||||||||||||||||||||||||||||||||||||||||||||||||||||||||||||||||||||||||||||||||||||||||||||||||||||||||||||||||||||||||||||||||||||||||
溫馨提示:“A72W0P/R真空負壓安全閥”所有文字、數據、圖片均只適用于參考。
如需與實物相吻合的性能參數、結構尺寸參數等詳情請來電來函索取。
電話:021-68103333 傳真:021-51686322
如需與實物相吻合的性能參數、結構尺寸參數等詳情請來電來函索取。
電話:021-68103333 傳真:021-51686322

軟密封蝶閥視頻介紹





掃一掃關注我們